meviy
技術・操作マニュアル TOP
ミスミ
検索する
PDFダウンロード
閉じる
技術情報
板金
対象部品/材料
見積もり可能形状
穴加工の種類
材質・表面処理・サイズ
出荷日
納期選択サービス
材料の特性
表面処理の特性
メッキ・メッキ鋼板の色比較
塗装色の種類
糸面取りの対象範囲
クリーン洗浄の対象範囲
寸法公差の対象範囲
刻印の対象範囲
R曲げ形状の対象範囲
薄板・シムプレートの対象範囲
透明樹脂の対象範囲
複合板の対象範囲
設計ガイドライン
モデリングの基本ルール
穴認識の仕様
タップ穴認識と選択できるサイズ
バーリングタップのモデリングとサイズ
皿穴のモデリングと選択できるサイズ
ねじインサートの仕様について
メッキ・塗装用の吊り穴
だるま穴のモデリングルール
ナットとソケットの選択できるサイズ
パンチングメタルのモデリングルール
加工限界の範囲
ナットとソケットの加工限界範囲
曲げ加工の条件
板金部品のお見積もりエラー事例集
精度と加工条件
許容寸法公差
穴加工の仕様
曲げ加工の仕様
切断面の外観
銅・真鍮について
糸面取りについて
クリーン洗浄について
ヘアライン方向について
メッキ鋼板について
メッキ・塗装品について
刻印について
パンチングメタル加工仕様
透明樹脂加工仕様
複合板加工仕様
品質管理について
ナット取付製品の品質管理について
ソケット取付製品の品質管理について
板金溶接
対象部品/材料
見積もり対象形状
材質・表面処理
見積可能なサイズ
板厚違いの見積可能条件
出荷日
納期選択サービス
塗装色の種類
糸面取りの対象範囲(板金溶接)
溶接情報の指示と内容
スポット溶接加工と仕上げ
漏れなきことの対象範囲
サービス対象外形状
設計ガイドライン
モデリングの基本ルール
溶接箇所の判定と認識できるサイズ
溶接困難な箇所の判定
板金溶接の3D設計ガイド
体裁面と溶接方向の設定
加工限界の範囲
溶接基準
溶接加工基準
仕上げ加工基準
溶接・仕上げ加工後外観
精度規格
許容寸法公差
溶接加工の反り・歪み
品質管理について
糸面取りについて(板金溶接)
漏れ試験方法と保証範囲
切削(角物)
対象部品/材料
見積もり可能形状
材質・表面処理
熱処理
出荷日
納期選択サービス
材料の特性
表面処理の特性
サービス対象外形状
見積もり可能なサイズ
設計ガイドライン
3Dモデルと仕上りに差異が生じる形状
3Dモデリング時の留意点
各種穴の認識条件
薄肉判定ロジック
切削角物のお見積もりエラー事例集
精度と加工条件
指示なき加工寸法の普通許容差標準
各種穴とポケットの規格
指定可能な寸法公差
指定可能な穴深さ公差・有効深さ公差
指定可能な角度公差
3D画面での穴情報表記ルール
3D画面での小数点以下桁数字表示ルール
刻印について
品質管理について
ウレタンの規格・品質基準
切削(丸物)
対象部品/材料
見積もり可能形状
出荷日(材質・表面処理・熱処理・対応サイズ)
納期選択サービス
材料の特性
表面処理の特性
設計ガイドライン
切削丸物の認識条件
3D画面での寸法表記ルール
3Dモデルと仕上りに差異が生じる形状
薄肉判定ロジック
切削丸物のお見積もりエラー事例集
精度と加工条件
指示なき加工寸法の普通許容差標準
おねじ・めねじ/キー溝/穴/ポケット規格
指定可能な寸法公差
3D画面での小数点以下桁数字表示ルール
外観品質について
品質管理について
操作マニュアル
ご利用を始める前に
meviyとは
meviyの操作手順
meviy から注文できる部品
アップロードできる3D CADファイル
推奨動作環境
会員登録する
ログイン/ログアウトする
ユーザーメニュー
穴・内径タイプの自動認識
SOLIDWORKS
iCAD
ユーザー設定(任意)
プロジェクトを管理する
3Dデータをアップロードする
プロジェクトを整理する
プロジェクト一覧画面の見かた
見積り条件の設定
[板金]見積もり設定
見積もりの流れ
3Dビューワー画面の見かた
3Dビューワーの操作方法
基本情報を設定する
穴情報を変更する
寸法(距離/公差)を追加/削除する
フォントサイズを変更する
グループ穴を分割する
刻印を設定する
3Dモデルを測定する
2D DXFファイルをダウンロードする
見積もりを確定(型番取得)/確認する/変更する
曲げ部の板厚を自動修正する
キーボード操作
担当者見積のご案内
[溶接]見積もり設定
見積もりの流れ
3Dビューワー画面の⾒かた
3Dビューワーの操作⽅法
基本情報を設定する
溶接情報を設定する
個別に溶接情報を設定する
穴情報を変更する
寸法を追加/削除する
フォントサイズを変更する
グループ穴を分割する
3Dモデルを測定する
品質同意事項を確認する
見積もり確定(型番取得)/確認する/変更する
キーボード操作
担当者見積のご案内
[切削(角物)]見積もり設定
見積もりの流れ
3Dビューワー画面の⾒かた
穴情報を変更する
3Dビューワーの操作⽅法
基本情報を設定する
寸法および寸法公差を追加/削除する
寸法および寸法公差をまとめて追加する
角度寸法および角度公差を追加/削除する
表面粗さ、研削・バフ研磨を設定する
熱処理(全体焼入れ)を設定する
データム・幾何公差を設定する
刻印を設定する
グループ穴を分割する
フォントサイズを変更する
設計原点を変更する
3Dモデルを測定する
2D DXFファイルをダウンロードする
同意事項を確認する
ミラーパーツを生成する
見積もりを確定(型番取得)/確認する/変更する
キーボード操作
担当者見積のご案内
[切削(丸物)]見積もり設定
見積もりの流れ
3Dビューワー画面の⾒かた
3Dビューワーの操作⽅法
基本情報を設定する
穴情報を設定する
寸法および寸法公差を追加/削除する
外径情報を設定する
内径情報を設定する
長穴/キー溝情報を設定する
表面粗さを設定する
代表面粗さを設定する
熱処理(全体焼入れ・部分焼入れ)を設定する
データム・幾何公差を設定する
グループ穴を分割する
フォントサイズを変更する
設計原点を変更する
3Dモデルを測定する
2D DXFファイルをダウンロードする
同意事項を確認する
見積もりを確定(型番取得)/確認する/変更する
キーボード操作
担当者見積のご案内
ユーザー設定(切削丸物)
注文する
meviyからの発注手順
MISUMIサイトからの発注手順
注文内容の変更とキャンセル
簡易2D図面・見積書・部品表のダウンロード
再注文する
お支払い方法
配送・納品物について
商品ラベルの記載事項について
仮納品書の記載事項について
便利な機能
モデルの購入履歴を確認する
プロジェクトを共有する
メモ機能を活用する
ユーザー設定のインポートとエクスポート
meviyマーケットプレイスで見積依頼
型番の発行履歴を表示する
発行型番を公開する/プロジェクトを共有する
検索機能を活用する
マウスによるモデル操作
注文番号の入力
よくある質問
サービスについて
Q. meviyを利用するメリットは何ですか?
Q. meviyを利用するにあたってソフトのインストールは必要ですか?
Q. どうすればmeviyを利用できますか?
Q. アップロードしたデータはいつまで保存されますか?
Q. アップロードしたデータのセキュリティーは大丈夫ですか?
Q. 3D CADデータはどのような形式に対応していますか?
Q. 2D CADデータでも見積もりできますか?
Q. 日本で発行した型番を海外から購入したいのですが可能でしょうか。
Q. 数量2個で型番を発行した場合、注文時の数量は1(セット)で2個納品ということでしょうか。
Q. 注文の締め時間はありますか?
Q. meviyはRoHS(10物質)に対応していますか?
Q. 既製品、既に納品済みの製品に追加工は可能でしょうか。
Q. 寸法が入っていない箇所があるのですが、加工はされますか?
Q. 3Dプリンターでの製造は可能でしょうか?
Q. meviyを利用するにあたってブラウザ推奨環境を教えてください。
Q. 不良品はどのように対応すればいいですか?
Q. 「モデルにエラー形状が存在します。」「ファイルの読込に失敗しました。」「PMIが作成できませんでした。」というエラーが出ました。どうすればよいでしょうか。
操作について
Q. MiSUMi ECサイトのユーザー設定でメールアドレスを変更したが、見積完了メールが旧アドレスに届きます。対策はありますか?
Q. meviyにアップロードした3Dデータを出力することは可能でしょうか?
Q. meviyのパーツ名を変更することは可能ですか?
見積もりについて
Q. 見積は無料ですか?
Q. 納期を短縮することは可能ですか。
Q. 価格を抑える方法はございますか。
Q. meviyでCADデータの編集は行えますか?
Q. 担当者見積で前回、類似形状で見積していただいた時より今回の方が価格が高くなっているのはなぜでしょうか。
Q. 担当者見積で前回見積もった内容と乖離を防ぐにはどうすればいいですか?
Q. 見積条件を確定しようとすると価格照会に失敗するのはなぜですか?
Q. 他社が見積もった型番を自社で購入することは可能でしょうか。
Q. 自身が見積もった型番を他社から購入することは可能でしょうか。
Q. 左右勝手違いのお見積りは可能でしょうか。
Q. 納期のカウント方法を教えて貰えますか?
板金部品について
Q. 板金部品はどのような形状を見積もれますか?また対象外となる形状はございますか?
Q. 寸法線の追加、公差指示はできますか?
Q. 穴と●●の距離が近すぎるというエラーが出るが、モデル上の距離を測定しても問題ない場合どうすればよいですか?
Q. 自動見積可能なモデルの表面処理を変更しただけで、見積不可となってしまうのは何故ですか?
Q. 板金部品で製造が難しいとミスミ担当者より連絡をいただいたことがあるが、どのような形状が該当しますか?
板金溶接について
Q. 板厚違いの溶接は可能でしょうか。
Q. 板金溶接として見積もり可能なCADファイルの種類を教えてください。アップロード不可と表示される場合があり、困っています。
Q. ボックス形状の角部は溶接で穴を埋めてほしいです。どのように指示するとよいでしょうか。
Q. R部分がハイライトされませんが、溶接されるのでしょうか。
Q. 溶接構造のパーツ同士が別々に分かれてしまいました。原因はなんでしょうか。
Q. 複数の溶接箇所に対して、異なる溶接指示を行うことは可能ですか。
Q. ナットの取り付けは対応できますか。
Q. 溶接で締結部品などの取付を行いたいのですが、どのように依頼すればいいですか。
Q. 板金をロールし円筒を作る溶接には対応していますか。
Q. 形鋼や規格鋼材を使用した製品や、架台のような製品には対応してますでしょうか。
切削角物について
Q. 切削角物はどのような形状を見積もれますか?また対象外となる形状はございませんか?
Q. 一般公差(普通許容差)は寸法線に記入が必要ですか?
Q. 公差指示していない箇所など、一般公差(普通許容差)の精度は何を基準としていますか?
Q. 寸法表示されていない箇所(面取りやコーナーR)は加工されますか?
Q. 幾何公差には対応していますか?
Q. 管用タップ(Rcテーパー / G平行)に対応していますか?
Q. 角物で取り扱っているアルミ材の質別を教えてください。
Q. 角物で取り扱っているふっ素樹脂の種類を教えてください。
Q. ユニファイタップ(UNC / UNF)に対応していますか?
切削丸物について
Q. 樹脂と金属で設定できる公差は同じですか?
Q. 切削丸物や角物で樹脂成形は対応していますか?
Q. しまりばめのはめ合い公差は対応できますか?
Q. 端面溝の深さがエラーとなってしまった。端面溝の加工可能な深さがわかる資料はございませんか?
Q. セットカラーはお見積りできますか?
Q. 「一括寸法追加」の機能で追加した寸法線に対し、公差設定はできないのでしょうか?
Q. どのような熱処理に対応していますか。
Q. 丸物で取り扱っているアルミ材の質別を教えてください。
Q. 丸物で取り扱っているふっ素樹脂の種類を教えてください。
Q. 代表面粗さのご指定は可能でしょうか。
リリース情報
2025年 リリース情報
2025年10月 定期リリース
2025年9月 定期リリース
2025年8月 定期リリース
2025年7月 定期リリース
2025年6月 定期リリース
2025年5月 定期リリース
2025年4月 定期リリース
2025年3月 定期リリース
2025年2月 定期リリース
2024年 リリース情報
2024年12月 定期リリース
2024年11月 定期リリース
2024年10月 定期リリース
2024年9月 定期リリース
2024年8月 定期リリース
2024年7月 定期リリース
2024年6月 定期リリース
2024年5月 定期リリース
2024年4月 定期リリース
2024年1月 定期リリース
2023年 リリース情報
2023年12月 定期リリース
2023年11月 定期リリース
2023年10月 定期リリース
2023年9月 定期リリース
2023年8月 定期リリース
2023年7月 定期リリース
2023年6月 定期リリース
2023年5月 定期リリース
2023年4月 定期リリース
2023年3月 定期リリース
2023年2月 定期リリース
2023年1月 定期リリース
2022年 リリース情報
2022年12月 定期リリース
2022年11月 定期リリース
2022年10月 定期リリース
評価した記事一覧
meviy
ヘルプ
技術情報
板金
精度と加工条件
糸面取りについて
糸面取りについて
最終更新日:2024/12/09
板金部品の全技術情報「使い方-詳細マニュアル(PDF版)」はコチラ >>
PDF ダウンロード
規格値
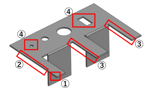
部位例
右図に示す赤丸箇所に、板金部品の抜き加工時に発生する バリ・かえりをR0.1 相当で仕上げ致します。
糸面取りを選択していない場合は0.1mm以下のバリ・かえりを保証しております。
なし(0.1㎜以下のバリ・かえりは除去)
あり(R0.1相当)
糸面取りの外観
アクリル透明 板厚8.0mm
SUS304(2B) 板厚3.0mm
糸面取りの仕上がり
両面バリ取り機を使用してバリ・かえりの除去を行うため、体裁面に細かな傷が入る恐れがございます。
刻印サービスとの組み合わせは文字が薄くなる恐れがあるため糸面取り対象外です。
透明樹脂製品はデフォルトで糸面取りの仕上げをしております。
この記事は参考になりましたか?
役に立った!
役に立たなかった
送信
取消
評価いただきありがとうございました。
この記事は評価済みです
評価の取り消しは
評価した記事一覧
にて可能です。
最近見た記事
↑